气液两相流的多并联分支管系统在大型冷箱中应用广泛, 流体流入并联分支管系统时, 由于各种运行因素的影响分配不均[1-4], 影响换热设备安全经济运行。研究并联分支管部分, 即T型管内的两相流量分配有重要的理论意义和实用价值。随计算机技术发展, 几十年来多相流在机理及仿真计算方面取得长足发展。文献[5]采用标准k-ε湍流模型, 对不同流体参数和管道结构的T型三通管内流体进行模拟计算, 得到管内流体的湍动能、压力和温度等数据; 文献[6]用试验研究和数值模拟方法同时研究水平管内气液两相流, 两种方法结果吻合, 证明数值模拟有一定有效性; 文献[7-8]发现分配联箱型进口三通附近的蒸汽流中有涡流区, 涡流影响区中的阻力系数发生很大变化, 造成该区域管组中流量分配极不均匀; 文献[9]发现单相流中足够入口管长度可保证流体均布, 但联箱中有少量气泡时会导致流体分配不均; 文献[10]从理论方面研究配管分流与汇集主管内的流体流动特性; 文献[11]具体分析两相流气液比对板翅式换热器内两相流分布和压降的影响; 文献[12]使用高速摄影方法分析环状流在不同入口条件下液体分离和夹带的动态过程, 对理解两相流相分离的机理有重要意义, 对模拟结果的机理分析提供强有力的依据; 文献[13-15]发现入口温度分布不均对换热器性能造成的影响比入口质量流量分布不均, 总流分布不均时, 换热器性能降低高达20%, 说明研究流体均配的重要性。文献[16]发现气相流量较大时, 换热器内流体分布更均匀。文献[17]研究U型与Z型配管内流体分布及流阻产生的影响因素, 发现结构和工况因素对其都有影响。以上只研究整个换热器换热过程的流体分布状况, 未考虑流体进入换热器之前在T型管内的流体分布情况。本研究借鉴他们的方法及理论, 对T型管流体分配的影响因素进行研究分析。建立多个T型管三维模型, 以入口液相体积分数(
分别构建衔接处为直管和弯管的三维T型管模型。采用Gambit生成网格, 靠近壁面以及流动参数变化较快的位置进行网格加密。图 1为衔接处为直管的三维T型管模型及网格划分, 图 2为衔接处弯管的三维模型(D=2R)及网格划分(图 1、2中单位为mm)。
|
图 1 衔接处为直管的三维T型管模型 Figure 1 The 3D T-tube′s model which connection is straight tube |
|
图 2 衔接处弯管的三维模型及网格划分 Figure 2 The 3D T-tube′s model which connection is bend tube |
模型的主要物理量可用通用形式的控制方程表示:
| $ {\rm{div = (}}\rho \mathit{\boldsymbol{u}}\mathit{\Phi }{\rm{) = div(}}{\mathit{\Gamma }_\mathit{\Phi }}{\rm{grad}}\mathit{\Phi }{\rm{) + }}{\mathit{S}_\mathit{\Phi }} $ | (1) |
式中: ρ表示密度, kg·m-3; u表示速度矢量, m·s-1; Φ指通用变量, ΓΦ为广义扩散系数, SΦ为广义源项。
Φ变化时, ΓΦ和SΦ随之变化并对应不同值。此通用形式可分别表示连续性方程、动量方程、能量方程和质量方程[18]。气液两相流在配管中流动不涉及换热, 不考虑能量守恒方程。
配管内流动的两相介质为水蒸气与水。气相为主相, 液相为次要相。采用有限容积法离散控制方程, PISO算法耦合速度与压力, 湍流动能、湍流耗散项、动量方程均采用二阶迎风格式离散。选取适用于雾状流的MIXTURE模型, 考虑气液两相间相互作用力, 边界定义次要相的体积分数。湍流模型选择k-ε模型; 入口为速度入口; 出口为自由出口。
1.3 网格独立性验证采用非结构化网格进行网格划分, 因为其能够消除结构网格中节点的结构性限制, 较好地处理边界。以入口与出口1的压降(ΔP)作为验证数据进行网格独立性验证(见图 3), 随着网格加密, 网格数30万与网格数41万的模拟结果相比, 压降变化率为0.018%。选择网格数为30万左右的划分策略。
|
图 3 网格独立性验证 Figure 3 The verification of grid independence |
文献[19]发现数值模拟气液在分支管出口的流量特性与试验研究结果相符(见图 4)。可用数值模拟方法对T型管内流体流动进行研究。
|
图 4 分支管出口气液质量流量的模拟值与实验值比较 Figure 4 The comparison of simulation value and experimental value about gas-liquid mass flow in brance outlet |
确定分析标准, 分析流体流动, 依次观察分析入口液相体积分数、入口速度、液滴粒径及支管衔接处的结构对T型管出口流体分布的影响。
2.1 流体在T型管内的流动采用Fluent软件进行模拟, 设置气相与液相的流速均为2 m·s-1, 液滴粒径为10 μm, 液相体积分数为10%, 观察T型管内流体压力及支管截面液相体积分数云图。
由图 5发现, 主管内压力(Pa)变化较小, 但主管与支管间压差很大, 主管与支管衔接处压差尤其大。局部阻力损失产生负压区导致主管与支管衔接处压降很大。首先负压区引起涡流, 导致单个支管内流体分布不均; 其次压差产生“吸力”同时作用在雾状流两相, 使其进入支管, 但两相密度差较大, 惯性有很大差别, 流入支管过程中形成相分离[20], 导致T型管主管出口与支管出口液相体积分数不同, 造成多个支管间流体分布不均。
|
图 5 T型管内流体压力云图 Figure 5 The pressure contour of fluid in T-tube |
两方面观察流体进入换热器前是否均布。一是流体通过单个支管进入换热器时是否均布, 即T型管支管出口各处流体液相体积分数(
支管中靠近支管衔接处流体分布紊乱, 远离支管衔接处流体分布太过均匀, 不易观察不同参数下流体分布差异, 选择z=350 mm(见图 5标记)处的截面进行分析。图 6为流体在T型管支管z=350 mm处的液相体积分数变化云图。可见支管内流体分布不均, 但进入板式换热器各个通道的液相体积分数相似即可看作流体均布, 为了更直观的观察支管出口流体分布情况, 定义a为点1(x=200.1 mm, y=0 mm, z=350 mm)的液相体积分数, b为线1(z=350 mm截面x=205 mm)液相体积分数的平均值, c为线2(z=350 mm截面x=210 mm)液相体积分数的平均值, d为线3(z=350 mm截面x=215 mm)液相体积分数的平均值, e为点2(x=219.9 mm, y=0 mm, z=350 mm)的液相体积分数, 这5个定义值代表截面x轴方向直径的液相体积分数变化, 其中点和线的选择按照将支管4等分的方式选取, 具体见图 6标记。
|
图 6 流体在T型管支管z=350 mm的液相体积分数云图 Figure 6 The contour of liquid volume fraction in z=350 mm cross section |
通过比较两个出口的液相体积分数比判断主管与支管(多个支管间)的流体分布情况。定义液相体积分数比为出口液相体积分数与入口液相体积分数的比值(
气相与液相的流速为2 m·s-1, 液滴粒径为10 μm, 液相体积分数分别为2%、4%、6%、8%、10%时, 入口液相体积分数变化对T型管出口流体分布的影响见图 7、8所示。
|
图 7 不同入口液相体积分数下支管液相体积分数 Figure 7 The volume fraction of liquid in branch pipe under different inlet volume fraction of liquid |
|
图 8 不同入口液相体积分数的出口液相体积分数比 Figure 8 The outlet volume fraction ratio of liquid under different inlet volume fraction of liquid |
首先观察入口液相体积分数对单个支管内流体分布的影响。观察图 7发现, z=350 mm截面的5个值均无明显变化, 即支管内流体分布较均匀。因为影响单个支管内流体分布主要因素是涡流, 流体两相相对运动速度与涡流成正比, 流体液相体积分数对流体两相相对速度影响极小。不同入口液相体积分数对单个支管内流体分布几乎无影响。其次观察入口液相体积分数对多个支管间流体分布影响。观察图 8发现, 随入口液相体积分数增加, 出口1液相体积分数比减小, 出口2液相体积分数比增大, 且两个出口液相体积分数比的差由7%降到5.5%, 即多个支管出口流体逐渐均布。因为液相体积分数增加, 气相夹带的液相份额增加, 进入支管的液相增加, 主管液相减小, 多个支管间液相体积分数差减小, 流体经由各个支管进入换热器时分布均匀。入口液相体积分数较大利于配管多个支管出口的流体均布。
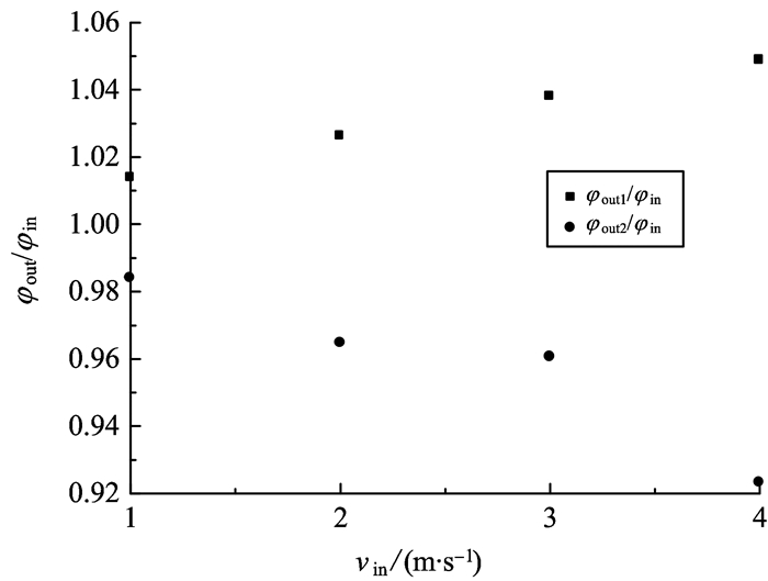
2.3 入口速度变化对T型管出口流体分布的影响液相体积分数为6%, 液滴粒径为10 μm, 流体流速分别为1、2、3、4 m·s-1时, 流体入口速度变化对T型管出口流体分布的影响见图 9、10所示。
|
图 9 不同入口速度下支管液相体积分数 Figure 9 The volume fraction of liquid in branch pipe under different inlet velocity |
|
图 10 不同入口速度的出口液相体积分数比 Figure 10 The outlet volume fraction ratio of liquid under different inlet velocity |
首先观察入口速度对单个支管内流体分布的影响。观察图 9发现, 入口速度越大, z=350 mm截面的5个值变化越明显, 即随入口速度增加, 支管内流体分布越不均匀。因为流体速度增加导致其受惯性力作用增大, 进入支管液相减少, 支管与主管衔接处的涡流对流体扰动增加, 支管内流体分布不均。入口速度较小利于单个支管内流体均布。其次观察入口速度对多个支管间流体分布的影响。观察图 10发现, 随入口速度增加, 出口1液相体积分数比不断增大, 出口2液相体积分数比不断减小, 且两个出口液相体积分数比的差由3%增到13%, 即多个支管出口流体分布逐渐不均。因为流体入口速度越大, 惯性力对流体影响越大, 进入支管液相越少, 进入主管的液相增加, 多个支管间的液相体积分数差增大, 流体经由各个支管进入换热器时分布不均匀。综上, 入口速度较小利于单个支管内和多个支管间流体均布。应在保证换热器效率的基础上选择较小的入口速度。
2.4 液滴粒径变化对T型管出口流体分布的影响液相体积分数为4%, 流体流速为2 m·s-1, 液滴粒径分别为2、4、6、8、10 μm时, 液滴粒径变化对T型管出口流体分布的影响见图 11、12所示。
|
图 11 不同液滴粒径下支管液相体积分数 Figure 11 The volume fraction of liquid in branch pipe under different droplet size |
|
图 12 不同液滴粒径的出口液相体积分数比 Figure 12 The outlet volume fraction ratio of liquid under different droplet size |
首先观察液滴粒径对单个支管内流体分布的影响。观察图 11发现, 液滴粒径越大(特别超过8 μm的液滴), z=350 mm截面的5个值变化越明显, 即随液滴粒径增大, 支管内流体分布越不均匀。因为液滴粒径变大, 气相带动液相流入支管需要更多的能量, 进入支管液相减少, 支管与主管衔接处的涡流对流体的扰动增加, 支管内流体分布不均。液滴粒径较小利于单个支管内流体均布。其次观察液滴粒径对多个支管间流体分布的影响。观察图 12发现, 液滴粒径在2~6 μm时两个出口液相体积分数比均没有较大变化, 但两个出口液相体积分数比的差在增大; 液滴粒径由8 μm变化到10 μm时, 出口1液相体积分数比随液滴粒径增加剧烈增加, 出口2液相体积分数比随液滴粒径增加剧烈降低, 两个出口液相体积分数比的差增大7%左右。因为流体流动存在惯性, 液滴粒径变大, 气相对液相带动作用减弱, 进入支管液相变少, 多个支管间的液相体积分数差增大, 流体经由各个支管进入换热器时分布不均匀。综上, 在其他入口条件及设备条件相同时, 液滴粒径较小利于单个支管内和多个支管间流体均布。
2.5 支管衔接处结构对T型管出口流体分布的影响分别选择液相体积分数为2%, 液滴粒径为10 μm, 流体流速为2、4、6 m·s-1; 液相体积分数为2%、4%、6%, 液滴粒径为10 μm, 流体流速为6 m·s-1和液相体积分数为6%, 液滴粒径为6、8、10 μm, 流体流速为6 m·s-1的7组数据对衔接处为直管和弯管内圆直径D为主管直径的1倍(40 mm)、1.5倍(60 mm)、2倍(80 mm)、2.5倍(100 mm)、3倍(120 mm)的模型进行数值模拟, 观察衔接处结构对T型管出口流体分布的影响。
为了更好的比较不同结构对T型管出口流体分布的影响, 构建主管与支管直径相同的模型, 所以定义A为点1(x=200.1 mm, y=0 mm, z=200 mm)的液相体积分数, B为线1(z=200 mm截面x=210 mm)液相体积分数的平均值, C为线2(z=200 mm截面x=220 mm)液相体积分数的平均值, D为线3(z=200 mm截面x=230 mm)液相体积分数的平均值, E为点2(x=239.9 mm, y=0 mm, z=200 mm)的液相体积分数, 这5个定义值代表截面x轴方向直径的液相体积分数变化, 选取标准仍是将支管4等分的点和线。
首先观察衔接结构对单个支管内流体分布的影响。观察图 13发现, 随入口速度和液滴粒径变小, 衔接处为直管结构时,5个值比其他5组衔接处为弯管变化明显, 随着入口速度和液滴粒径增大, 变化逐渐不明显, 即入口速度和液滴粒径较小时,衔接处为直管结构的T型管单个支管内流体分布更易不均。因为流体进入支管时产生涡流, 入口速度和液滴粒径越小, 流体分布越易受涡流的影响, 即支管内流体分布在入口速度和液滴粒径较小时, 易受T型管支管衔接处结构变化的影响。支管前后端做成流线形能减少涡流, 当衔接处为弯管时, 流体较缓和的进入支管, 涡流对流体的扰动减小, 流体气液分离程度变小, 支管内流体分布较均匀。衔接处为弯管结构利于单个支管内流体均布。其次观察衔接结构对多个支管间流体分布的影响。观察图 14(弯管内圆直径=0 mm代表直管)发现, 液滴粒径和入口速度较大时, 衔接处为直管的T型管两个出口液相体积分数比的差, 明显比其它5组衔接处为弯管的T型管两个出口液相体积分数比的差大, 且弯管内圆直径越大, 两个出口液相体积分数比的差越小。因为多个支管间的流体分布主要受惯性的影响, 液滴粒径和入口速度越大, 流体惯性越大, 衔接处结构对支管与主管的流体分布影响越大, 衔接处为弯管对流体惯性的缓冲作用较衔接处为直管强, 支管与主管的流体液相体积分数相差变小, 随着弯管内圆直径的增加, 对流体惯性缓冲作用增加, 两个出口液相体积分数比的差渐小。液滴粒径和入口速度较大时, 衔接处为弯管的T型管较衔接处为直管的T型管更利于流体均布。
|
图 13 不同衔接结构下支管液相体积分数 Figure 13 The volume fraction of liquid in branch pipe under different cohesive structure |
|
图 14 不同衔接结构的出口液相体积分数比 Figure 14 The outlet volume fraction ratio of liquid under different cohesive structure |
综上所述, 入口速度和液滴粒径较小, 衔接处为弯管的T型管利于单个支管内流体均布; 入口速度和液滴粒径较大, 衔接处为弯管的T型管利于多个支管间流体均布。
3 结论(1) 影响T型管单个支管内流体分布的主要因素是支管入口产生的涡流强度; 影响多个支管间流体分布的主要因素是流体惯性。
(2) 其他入口条件及设备条件相同时, 流体入口液相体积分数较大利于多个支管间流体均布; 入口速度或液滴粒径越小, 单个支管内和多个支管间流体越易均布, 且入口速度对流体分布影响较明显。
(3) 支管采用弯管过渡后, 相比直角T型管, 主支管衔接处涡流显著减小, 对支管流体均布有明显改善。
| [1] | MUELLER A C. Effects of some types of maldistribution on the performance of heat exchangers[J]. Heat Transfer Engineering, 1987, 8(2): 75-86 DOI:10.1080/01457638708962795 |
| [2] | MUELLER A C, CHIOU J P. Review of various types of flow maldistribution in heat exchanger[J]. Heat Transfer Engineering, 1988, 9(2): 36-50 DOI:10.1080/01457638808939664 |
| [3] | SIVERT V. Two-phase flow distribution in heat exchanger mainfolds[D]. Trondheim, Norway: Norwegian University of Science and Technology, 2003. |
| [4] | MOHAMMAD A, GEORGES B, PIERRE M. General characteristics of two-phase flow distribution in a compact heat exchanger[J]. International Journal of Heat and Mass Transfer, 2009, 52(1-2): 442-450 DOI:10.1016/j.ijheatmasstransfer.2008.05.030 |
| [5] |
杨康, 刘吉普, 马雯波. 基于FLUENT软件的T型三通管湍流数值模拟[J].
化工装备技术, 2008, 29(4): 33-36 YANG Kang, LIU Jipu, MA Wenbo. The turbulence numerical simulation of T-tube based on FLUENT software[J]. Chemical Equipment Technology, 2008, 29(4): 33-36 |
| [6] |
赵铎. 水平管内气液两相流流型数值模拟与实验研究[D]. 青岛: 中国石油大学, 2007.
ZHAO Duo. Numerical simulation and experimental research on flow pattern of gas-liquid flow in horizontal pipe[D]. Qingdao: China University of Petroleum, 2007. |
| [7] |
罗永浩, 杨世铭, 王孟浩. T型进口三通对分配联箱流量分配的影响[J].
动力工程, 1998, 18(3): 29-33 LUO Yonghao, YANG Shiming, WANG Menghao. The influence of T-tube on distribution of flux in distribution header[J]. Power Engineering, 1998, 18(3): 29-33 |
| [8] |
罗永浩, 杨世铭. 锅炉集箱支管流动机理探讨[J].
锅炉技术, 1997(4): 11-13 LUO Yonghao, YANG Shiming. The flow mechanism of boiler header pipe[J]. Boiler Technology, 1997(4): 11-13 |
| [9] | MASAHIRO O, TOMOYUKI H, SACHIYO H. Water flow distribution in horizontal header contaminated with bubbles[J]. International Journal of Multiphase Flow, 1999, 25(5): 827-840 DOI:10.1016/S0301-9322(98)00067-6 |
| [10] |
缪正清, 徐通模. 集箱与并联管屏系统单相流体的流动特性[J].
上海交通大学学报, 2000, 34(9): 1206-1210 MIU Zhengqing, XU Tongmo. The fluid flow characteristics of single phase in header and parallel tube system[J]. Journal of Shanghai JiaoTong University, 2000, 34(9): 1206-1210 |
| [11] | WANG C C, YANG K S, TSAI J S, et al. Characteristics of flow distribution in compact parallel flow heat exchangers part I: typical inlet header[J]. Applied Thermal Engineering, 2011, 31: 3226-3242 DOI:10.1016/j.applthermaleng.2011.06.004 |
| [12] | CHARRON Y, WHALLEY P B. Gas-liquid annular flow at a vertical tee junction-part flow separation[J]. Multiphase Flow, 1995, 21(4): 569-589 DOI:10.1016/0301-9322(94)00088-2 |
| [13] | CHIOU J P. The effect of nonuniform fluid flow distribution on the thermal performance of solar collector[J]. Solar Energy, 1982, 29(6): 487-502 DOI:10.1016/0038-092X(82)90057-3 |
| [14] | CHIOU J P. Thermal performance deterioration in crossflow heat exchanger due to the flow nonuniformity[J]. Journal of Heat Transfer, 1978, 100(4): 580-587 DOI:10.1115/1.3450860 |
| [15] | CHIOU J P. The effect of longitudinal heat conduction on crossflow heat exchanger[J]. Journal of Heat Transfer, 1978, 100(2): 346-351 DOI:10.1115/1.3450807 |
| [16] | SAAD S B, CLEMENT P, FOURMIGUE J F, et al. Single phase pressure drop and two-phase distribution in an offset strip fin compact heat exchanger[J]. Applied Thermal Engineering, 2002, 49(6): 99-105 |
| [17] | MULLER-MENZEL T. Plate-fin heat exchanger performance reduction in special two-phase flow conditions[J]. Cryogenics, 1995, 35(5): 297-301 DOI:10.1016/0011-2275(95)95347-H |
| [18] | 陶文铨. 数值传热学[M]. 西安: 西安交通大学出版社, 2001: 1-6. |
| [19] |
李亚洁. 分配联箱气液两相流的实验及数值模拟研究[D]. 北京: 华北电力大学. 2009.
LI Yajie. Experimental investigation and numerical simulation on gas-liquid two phase flow in distribution header[D]. Beijing: North China Electric Power University, 2009. |
| [20] | ECKHARD K, BRAHMA N, ALEXANDR Z, et al. Experimental and numerical studies of volume fraction distribution in rectangular bubble columns[J]. Nuclear Engineering and Design, 2007, 237(4): 399-408 DOI:10.1016/j.nucengdes.2006.07.009 |


